Запчастини до сівалок СПЧ
ВИСІВНА СЕКЦІЯ
SPC6-5.0 SM / SPC6-5.0 SFM / SPC6-5.0 D / SPC6-5.0 DF
( Fig. 10 )
Найменування деталі No.
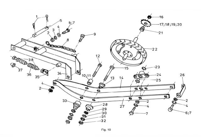
1 Шплінт ø4x32 STAS 1991
2 Гайка M10 STAS 4071
STAS 9851
3 Шайба А10 STAS 5200
4 Шайба Гровера нр.10 SR 7666-2
5 Вал II SPC6 – 5.18 M
6,7 Гвинт M 10 x 30 SR ISO 4017
8 Ланцюг 5А-9 ланок STAS 2585/2
9 Гвинт M 10 x 45 SR ISO 4017
10 Розпірка права SPC6-5.53 M
11 Шайба ø11 x ø25 x 1 NUP 183
12 Гвинт M12 x 180 STAS 4272
13 Розпірка права II SPC6-5.54 M
14 кронштейн Правий SPC6 – 5.3.0
15 Гвинт M12 x 180 SPC6-5.84 M
16 Гайка M16 SPC6 – 5.20.B
17 Зірочка Z=9 SPC6 - 05.00.49 C
18 Z=10 Зірочка з=10 SPC6 - 05.00.50 C
19 Z=11 Зірочка з=11 SPC6 - 05.00.38 C
20 Z=16 Зірочка з=16 SPC6 - 05.00.51 C
21 Шайба установча SPC6-5.17 M
22 Колесо опади SP4 – 5.29.0 A/II
23 Прокладка повстяне кільце ИП16 STAS 6577
24 Опора збірна SPC6 - 5.6.0 D
Опора SPC6-5.6.1 B
25 Втулка SPC6-5.6.2 N
26 Розпірка SPC6 – 00.00.01 S
27 Кронштейн лівий SPC6 – 5.4 A
28 Розпірка I ліва SPC6-5.65 М
29 Гайка M24 STAS 4373
30 Шайба А12 STAS 5200
31 Гайка M12 STAS 4071
32 Гайка M12 STAS 4373
33 Розпірка II ліва SPC6-5.65 М
34 Монтажна рама SPC6 – 5.2.0.V
35 Регулюючий стрижень SPC6 - 5.1.0.B
Пластина SPC6-5.1.1.0
Стрижень SPC6-5.1.2.0
36 Пружина SPC6-05.00.19
37 Направляюча втулка SPC6-5.90
38 Гайка M14 STAS 4071
Гайка M14 STAS 4373
Шайба STAS 5200
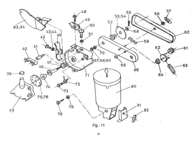
39 Захисна пробка SPC6– 05.32 B

40 Скреюок насіння SPC6 – 5.11.0 V
41 SPC6 – 05.00.58 B
42 Гвинт M 8 x 14 SR ISO 4017
43 Шайба А8 STAS 5200
44 Шайба Гровера нр.8 SR 7666 -2
45 Протектор торцевий SPC6 -5.15 S
46 Розподільний вал SPC6 - 5.30 M
47 Втулка релон SPC6- 05.00.102 M
48 Гвинт фіксуючий SPC6-5.57.0
49 Протектор SPC6 – 5.77 S
50 Гвинт регулювальний SPC6 – 5.68.0
51 Гайка M6 STAS 4071
52 Гайка установча SPC6 –05.00.101 D
53 Z=22 Зірочка з=22 SPC6–05.00.36 C
54 Z=30 Зірочка з=30 SPC6–05.00.37 C
55 ø2,5 x 25 Шплінт STAS 1991
56 Прокладка SPC6 - 05.00.103
57 Гайка смушкова М8 SUP48-11.44.0 B
58 Спеціальна гайка SPC6–05.00.83 C
59 Ланцюг 081-91 ланок STAS 6478
Ланцюг 081-86 ланок
Ланцюг 081-5 ланок
60 Кришка протектора SPC6 – 5.24.0 A
61 Ролик натяжний SPC6 -5.23.2 C
Шайба ø10.5xø16x0.8 NUP 183
Шплінт ø2.5x20 STAS 1991
62 Опора натяжна SPC6 -5.23.9.0 C
Шплінт ø4x20 STAS 1991
63 Пружина натяжна SPC6 -5.23.5 C
64 Шайба зносу SPC6 -5.23.3 C
65 Протектор ланцюга SPC6 – 5.23.0 D
Корпус протектора SPC6 – 5.23.1.0 D
66 Шайба пружинна SPC6 -5.23.4.C
67 Прокладка SPC6 - 5.47.M
68 Прокладка ущільнююча SPC6 - 5.92
69 Прокладка войл. кільце П16 STAS 6577
70 Прокладка SPC6–05.00.104
71 Корпус камери подачі SPC6 - 5.39.0 H
72 Пружина скребка SPC6 - 5.40 S
73 Гвинт M 6 x 20 SR ISO 4017
74 Упруная мішалка SPC6-05.00.31 C
75 Розподільний диск для дрібних насіння (буряк) SPC6 -5.97.C/1
76 Нпбор распред. дисків SPC6-05.00.29.0
77 Корпус камери пониж.давл. SPC6 – 5.28 V
78 Гвинт M 10 x 70 SPC6 – 5.62 M
79 Гайка M12 STAS 4373
80 Премник насіння S85 – 5.7.0 V
S85 – 5.7.0 A
81 Кришка S85-5.7.1.4 M
82 Гайка смушкова М8 SUP48-11.44.0 A
83 Сошник великий полоз SPC6-05.05.00 C
84 Сошник малий полоз SPC6-05.95.00 A
Сошник малий полоз SPC6-05.95.01.00 B
Обмежувальна підошва SPC6-05.95.02.00 A
Гвинт M10x45 SR ISO 4017
Шайба А10 STAS 5200
Гайка M10 STAS 4071
Мобільний кронштейн SPC6-05.95.02.03
Заклепка Ø6x14 STAS 3165
Сошник малий полоз SPC6-05.95.00 S
Сошник малий полоз SPC6-05.95.01.00 B
Обмежувальна підошва SPC6-05.95.02.01.00 S
Мобільний кронштейн SPC6-05.95.02.02 S
Розпірка SPC6-05.95.03 S
Гвинт M10x25 SR ISO 4017
Гвинт M10x45 SR ISO 4017
Гвинт M10x90 SR ISO 4017
Шайба Гровера нр.10 SR 7666-2
Шайба А10 STAS 5200

89 Опора скриньки SPC6– 5.63.0 A
90 Стяжка SPC6 - 05.00.12 C
91 Вставка SPC6-05.00.13.0
92 Вставка I SPC6-01.00.06 A
93 Шайба Гровера нр.16 SR 7666-2
94 Гайка M16 STAS 4071
STAS 9851
95 Покришка безкамерная SPC6 -5.9.2 A
96 Вісь колеса опади SPC6 - 5.8.0 S
97 Полуобод SP4 - 5.29.3 A
98 Дополнитеотный вантаж SPC6 - 05.00.45 B
99 Гвинт M 10 x 45 STAS 4272
100 Шайба Гровера нр.10 SR 7666-2
101 Гайка M10 STAS 4071
STAS 9851
102 Гвинт M 8 x 20 SR ISO 4017
103 Шайба Гровера нр.8 SR 7666-2
104 Гайка M8 STAS 4071
STAS 9851
106 Распред.диск ø5,5x7 SPC6 - 05.00.29.0/I
107 Распред. диск ø5,5x16 SPC6 – 05.00.29.0/III
108 Распред. диск ø5,5х6х2 SPC6 – 05.00.29.0/IV
109 Розподіл. диск ø3x14 SPC6-05.00.29.0/V

110 Розподільний диск ø3х6х2 SPC6 – 05.00.29.0/VI
111 Розподільний диск ø6х14 SPC6 -05.00.29.0/VII
112 Розподільний диск ø5,5x22 SPC6 -05.00.29.0 VIII
113 Розподільний диск ø5х34 SPC6 -05.00.29.0/IX
114 Розподільний диск ø4,5x40 SPC6 -05.00.29.0/X
115 Розподільний диск ø4х3х2 SPC6 – 05.00.29.0/XI
116 Распредельный диск сліпий SPC6 -05.00.29.0/XII
107’Розподільний диск ø5,5x15 SPC6 – 05.00.29.0/XIII
117 Приймач насіння «СРЧ» S85-5.7.1.1 B
118 Днище приймача зварене S85-5.7.2.0 A
119 Гвинт М8х18 SR ISO 4017
120 Шайба А8 STAS 5200
121 Гайка M8 STAS 9851
122 Кришка премника насіння SK-5.71.77 M


























